12日,盒马鲜生官方微博吐槽商标被抢注,称家里突然多了一堆亲戚,其中包含盒马夫人、盒马小姐、盒马爸爸等。


对此,网友们也纷纷调侃称,打算申请盒马舅舅,盒马舅妈,盒马叔叔,盒马嫂子,盒马情人,盒马阿姨,盒马姥姥,盒马一家子等商标,飞猪也来围观表示“盒马前男友、盒马前女友已经在路上了”。

面对商标被抢注,盒马鲜生表示“为了避免不必要的‘家庭纠纷’以上商标已经向商标局提出商标异议,辛苦各位“亲戚们”撤回,如有侵权行为,将采取维权措施。”
企查查显示,目前有关盒马相关商标共798条,其中还包含盒马伙伴、盒马贵族、盒马联盟等。不过,最引人注目的是阿里巴巴集团控股有限公司于11月27日申请注册“盒马NB”商标。

近年来,知名公司遭遇搭便车、傍名牌类商标维权事件变得极为普遍。比如之前的哔哩哔哩起诉“嘀哩嘀哩”、今日头条起诉“今日油条”、滴滴起诉“滴滴打球”、海底捞起诉“河底捞”,还有不久前的茶颜悦色起诉“茶颜观色”。
说起来,海底捞真是太绝了,他们在起诉“河底捞”商标侵权失败后,竟然一口气注册了263件商标,包括“池底捞”、“捞底海”、“粤底捞”、“渠底捞”、“清底捞”、“上海底捞”、“深海底捞”、“海底捡”、“三每底手劳”等。可见他们是意识到了商标保护的重要性,开始建立起自己的商标保护矩阵。

其实在面对商标抢注时,并不是所有的知名公司都处于被动,比如老干妈为防止商标被抢注,围绕核心品牌“老干妈”修筑了一条商标护城河。据天眼查显示,老干妈申请了“老于妈”、“干妈”、“好妈妈”、“老千妈”“光干妈”等商标。

不仅如此,大白兔为了保护自己的商标,把“大灰兔”、“大黑兔”、“大黑兔”、“金兔”、“银兔”等十几个近似商标都注册了;小米还注册了一系列带颜色的商标如“蓝米”、“黑米”、“紫米”、“橙米”、“黄米”、“桔米”等;五粮液倒是简单一点,把“六粮液”、“七粮液”、“八粮液”、“千粮液”等注册在它的名下。
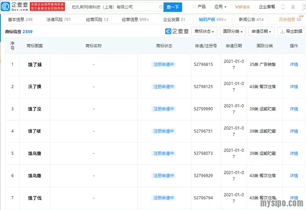
还有饿了么经营主体拉扎斯网络科技(上海)有限公司也于近日新增了多项商标申请信息。这些商标包括“饿了伐”、“饿了妹”、“饿了啵”、“饿鸟撒”、“沃了摸”等,国际分类涉及广告销售、餐饮住宿、运输贮藏、餐饮住宿等,商标状态均为“注册申请中”。

上述商标都和饿了么有一定关联,比如“饿了伐”就是典型的网络上常见的上海普通话,至于“饿了妹”、“饿了啵”、“饿鸟撒”“沃了摸”这似乎是来自各地方言。
之所以注册那么多关联商标,应该是和此前的商标纠纷有关。
2020年12月30日,饿了么关联公司拉扎斯网络科技(上海)有限公司(以下简称饿了么公司)因商标侵权起诉饿了吗餐饮管理(北京)有限公司(以下简称饿了吗公司)一审民事判决书公开。
北京市朝阳区人民法院一审判处饿了吗公司立即更企业名称,并且变更后的企业名称中不得含有与“饿了么”相同或者近似的文字,并赔偿饿了么公司1万元。
由此,饿了么也像海底捞一样,吃一蜇长一智,申请不少商标以防他人侵权。当然饿了么还没那么疯狂,并没有一下子就申请上百件商标。
上述的商标注册是企业商标战略布局的一环,也就是防卫商标,即是为了防止他人的使用或注册。而对自己的核心商标所进行的注册,具体包括防御商标和联合商标两种形式。
联合商标:一般指同一商标所有人在同一种或类似商品上注册的若干近似商标。这些商标中首先注册的或者主要使用的为主商标,其余的则为联合商标。这种相互近似商标注册后,不一定都使用,其目的是为了防止他人仿冒或注册,从而更有效地保护自己的商标。
例如阿里巴巴和老干妈一样的大家庭:阿里爸爸,阿里妈妈,阿里叔叔,阿里姐姐,阿里哥哥,阿里弟弟,阿里爷爷等等的这类商标就属于联合商标,也就是“阿里巴巴”的近似商标。
也算是被一堆山寨给逼的吧,毕竟若企业前期在商标上的重视程度不足,或者是在商标注册上出现了疏忽,那么便可能导致后期诉讼的失败,最终为企业品牌带来隐患。
在这里,蜗牛纳很有必要告诉大家,这种以获利等为目的、用不正当手段抢先注册他人在该领域或相关领域中已经使用并有一定影响的商标、域名或商号等权利的行为,会造成什么社会危害:
2、耗费大量的商标审查和司法资源,危害商标注册和使用秩序。由于恶意抢注商标行为大行其道,包括侵犯他人权益、占用社会公共资源,以及没有真实意图的商标,致使本来已经不堪重负的商标审查人员和司法人员雪上加霜,严重降低了商标审查和诉讼效率。
3、严重危害我国知识产权保护的国际形象。例如日本产业经济就曾公开发表言论指责我国恶意抢注商标横行,意大利对外贸易委员会则专程赴华打击伪意大利品牌等。
上述商标恶意抢注行为的本质就在于通过抢注行为,窃取他人的劳动成果,是不可取的。因此为应对商标恶意抢注行为,企业非常有必要建立商标“防火墙”,不但要防止商标被恶意抢注,而且在遇到商标恶意抢注时更需充分利用法律武器积极应对。
通常来说商标注册的目的在于使用,而申请如此之多的防御性商标注册,可能会造成商标的囤积、资源的浪费。但是目前各地都有相关政策支持知名企业建立以主商标为核心、防御商标和联合商标为保护的商标防御系统,所以企业的这种防御手段,属于很正常的商业行为。
